全国服务热线:
億彩85999cc官网400-816-1636
一、概述
四分量净全辐射由天空(包括太阳和大气)向下投射的和由地表(包括土壤、植物、水面)向上投射的全波段辐射量之差。TBB-2系列净全辐射表是市场领先的四分量净辐射传感器。它使用2个朝上和2个朝下的辐射传感器,可同时测量太阳的短波辐射、长波辐射、短波反射辐射、长波反射辐射、短波反射率、长波反射率以及净全辐射等多个辐射值。因其测量精度高、模块化设计、无源工作模式、性价比高等优点而广受欢迎。主要用于科学级能量平衡和表面通量研究,是科研级的理想仪器。同时在气象、光伏、园艺、农业和工业等领域也得到了广泛的使用。
二、基本原理
TBB-2系列净全辐射表由两个短波辐射表和两个长波辐射表组成。短波辐射表由石英罩、感应元件、表体等部件组成。长波辐射表由硅制弧形滤光罩、感应元件,铂电阻、表体等部件组成。感应元件由绕线电镀式多结点热电堆组成,感应面涂有进口高吸收无光黑色涂层,黑色涂层吸收辐射能,使热电堆两端产生温度差,并输出温差电动势,与接收的辐射强度成正比。每个长波辐射表的腔体内将一铂电阻嵌入热电堆边缘冷结点处,作为温度补偿使用。
每只辐射表都分别有各自的灵敏度系数和输出导线,可单独输出各个数据,同时通过各自的输出数据进行组合,分别能测量短波辐射、短波反射辐射、长波辐射、长波反射辐射、全波辐射、净全辐射、短波反射率和长波反射率。
億彩85999cc官网
净全辐射为正表示地表增热,即地表接收到的辐射大于发射的辐射,净全辐射为负表示地表损失热量。

三、技术指标
億彩85999cc官网 四、结构组成
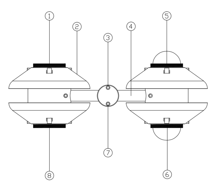
(1)朝上长波辐射表,(2)遮阳板,(3,4,7)用于x轴和y轴的调平组件,(5)朝上短波辐射表,(6)朝下短波辐射表,(8)朝下长波辐射表
五、 产品优势
1、辐射表内部增加了温度补偿装置,使测量的精度更加精准;
2、最低价格,顶级性能;
3、重量轻,一体化结构设计,安装成本低;
4、模块化设计,易于维护;
5、同时测量多个辐射要素;
6、无源工作模式,可随时随地测量;
7、.符合WMO世界气象组织规范(CIMO Guide);
8、净全辐射表表面静电喷塑,其防腐蚀能力极强,.适用于各种恶劣环境。
六、典型应用
億彩85999cc官网 四分量净辐射传感器可广泛应用于气象、农林业、建筑科学、道路安全等领域的蒸腾计算、热应力和热平衡的研究、高速公路状态监测等领域。